景德镇三宝蓬艺术聚落坐落于江西景德镇三宝村西朝坞的一个山谷中,曼景建筑完成了整个艺术聚落的总体规划以及其中四组建筑的设计,陶瓷设计中心便是其中之一。建筑形如圆月,漂浮于水面之上,故称作水月馆。
三宝蓬艺术聚落南侧鸟瞰(图片来源:陈颢)
建筑犹如漂浮于水面之上的圆月(图片来源:陈颢)
溪流上的建筑(图片来源:田方方)
质胜文则野
西朝坞的山谷算是一块“野”地,被周边溪流和两侧的山体限定出来,谈不上一等的风光,但也有溪水漫溢,地势起伏,草木杂生。“文胜质则史,质胜文则野”,对于这样的场地,理想的状态大概是保持和延续场地的野趣,并将其延伸至未来的空间、材料以及艺术家的生活方式中,正如中国书画中的“野意”胜于“精工”。
西朝坞山谷中的一块野地(图片来源:曼景建筑)
溪水漫溢,地势起伏,草木杂生(图片来源:曼景建筑)
随形——地形、器形
因为三宝蓬艺术聚落内部的空间功能多样、需求各异,从外部又很难找到一以贯之的场地特征来引导空间设计,所以空间和场地上的整合显得并不必要,而且可能会削弱具体空间和局部场地的特征。我们的策略是姑且放弃这种整合,而把设计作为空间和场地的中介,让每个独立建筑和它所在的局部场地进行匹配并且相得益彰。如同在传统聚落中,空间的生(BIM教程)成是以自利性的原则作为主要的底层驱动,自下而上生长出来。
江西婺源思溪延村聚落(图片来源:曼景建筑)
三宝蓬艺术聚落东侧鸟瞰(图片来源:曼景建筑)
水月馆选定的位置在山脚下的一条溪流转折之处。溪水两岸西高东低,溪流由南向北顺势而下。虽有地形水势,在周边的山谷里也甚是普遍。面对这簇小山水,我们希望最终的空间能够最大程度呈现它的野意。于是建筑以柔软身姿轻轻跨越溪流,匍匐于地表,用室内的高差再现原生场地的起伏,并以溪流的转折点为中心框定出内部的水院。它是人工化的自然而非全然的人造物——此为建筑跟随“地形”。
水月馆选定的场地(图片来源:曼景建筑)
水月馆空间生成
建筑跟随地形(图片来源:田方方)
建筑整体的形态则来源于匣钵——烧制瓷器时用来放置瓷器胎体,以便隔绝火焰与烟尘的器皿。匣钵是盛放瓷器的“器之器”,相信在千年瓷都,这便是最直接有力的空间图腾——此为建筑跟随 “器形”。
溪上匣钵(图片来源:曼景建筑)
建筑回应山形水势(图片来源:田方方)
得景——内景、外景
“匣钵”安放于山水之间,内部的庭院截取了一个由绿竹、芭蕉和溪水构成的原生标本,框定出风云变幻、流水潺潺、树影摇曳——此为得内景。
从室内看到的全景图(图片来源:田方方)
在“匣钵”外侧,随地势起伏留取一条宽窄变化的水平缝隙,它将人的目光限制在这条缝隙当中;缝隙较宽的部位对应内部的公共区域,让人置身室内犹在乡野;缝隙较窄的部位对应内部相对私密的区域,给每个人一幅独特的风景。高度变化的缝隙展现出一幅跟随地势,可以用身体度量的全景图——此为得外景。
夜景(图片来源:田方方)
随地势起伏的水平缝隙(图片来源:田方方)
从室内看到的全景图(图片来源:田方方)
办公区和会议室(图片来源:陈颢)
形影——虚实、时光
最初选择了匣钵的形态,其实是有些犹豫的。因为在山水之间放置一个圆形,给人的感觉可能太异质了;即便是圆,那也应该是个柔软的、不刻意的圆。
山水中安放的匣钵(图片来源:田方方)
对于这样的形态,我们不希望它呈现出过多的当代技术并突兀在山水之中,况且涉及到复杂精密的建筑技术,在当地建造也有太多不确定性;另外匣钵表面凹凸斑驳也需要通过表皮得到再现。基于这两点考虑,我们决定将表面细分,并模糊它的精度。这样不仅可以避免以一个巨大而人工的建构体与自然环境相冲突,也可以降低曲面形态对于完成度的依赖。我们最终选择了锈蚀的铜片折弯形成的铜瓦,以钢索背挂形成“瓦帘”,作为建筑曲面部分的包裹。
背挂铜瓦(图片来源:曼景建筑)
背挂铜瓦细部(图片来源:曼景建筑)
虚实相间的立面在视觉上提供了一个多变的状态:在白天宛如一个肌理丰富且坚硬厚实的实体,夜晚经过室内光线的穿透又薄如蝉翼。铜瓦在自然环境下氧化缓慢,会逐渐显示出时间的印迹。最终,“匣钵”上布满铜绿,甚至将人工的存在消隐到自然之中。
建筑的肌理和色彩融于环境之中(图片来源:陈颢)
薄如蝉翼的立面透出室内微光(图片来源:田方方)
灵感与自然的碰撞
水月馆最初被构想成一个可以容纳书店、咖啡馆、陶瓷展示和艺术家沙龙等功能的合集。它是当代生活与野趣的融合,是三宝蓬艺术聚落的客厅。
后来由于景德镇陶瓷设计中心的入驻,建筑功能发生了变化。当以新的空间需求重新启动室内设计时,我们对于建筑空间的基本构架和新的功能需求做了拟合,并激发出未来的使用场景。我们将随地表起伏形成的两个平台分为展示与办公区域,并将连接两个平台的台阶作为立体的展台和一个开放式的阶梯教室。两个平台和两段坡道形成了一个随地形起伏的圆环,圆环内外皆是野意的自然,这无疑给最终入驻的陶瓷设计师提供了一个灵感与自然碰撞的空间。
办公区(图片来源:田方方)
展示区(图片来源:田方方)
叠水穿越建筑(图片来源:田方方)
建筑贴附在原生地形之上(图片来源:田方方)
虽存野意,不绝烟火
安放在山水间的“匣钵”,以柔软的身姿贴附在地表之上;山间流淌而过的溪流,让整个建筑变成了一座跨越两次水面的桥梁;光影中斑驳的铜瓦表皮,如同保护色让建筑的形体隐匿在自然背(BIM工作)景之中。“匣钵”的形态作为“器之器”,唤醒了潜伏在景德镇人内心中的图腾,成为当地的文化坐标。陶瓷学院的毕业生进入陶瓷设计中心开始了他们的职业生涯,周边的居民于傍晚时分围绕建筑在溪水边纳凉。水月馆已逐渐融入了当地自然与人文的环境,这种融入并非简单地与环境趋同,而是如同铜瓦的斑斑锈迹,最终自然地成为其中的一部分。
建筑室内外的使用者(图片来源:田方方)
建筑和场地原生树木(图片来源:田方方)
水中倒影(图片来源:田方方)
广场遥望建筑(图片来源:田方方)
黄昏鸟瞰(图片来源:曼景建筑)
模型(图片来源:曼景建筑)
图纸
总平面图
地下一层平面图
一层平面图
剖面图、立面图
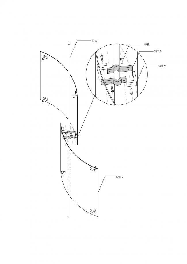
索支式背挂瓦拆解图
索支式背挂瓦细部
项目信息
项目名称:景德镇三宝蓬陶瓷设计中心
项目地点:江西省景德镇市三宝村
业主:景德镇正源文化产业发展有限公司
建筑面积:1027㎡
主持建筑师:吴海龙
设计团队:吴海龙、赵林、李三见、唐程颖、苗梦娜、卫韡、郭思博、程孟雅、毛广知、李诗慧
摄影:陈颢、田方方、曼景建筑
项目功能:展示、办公
建筑方案设计:曼景建筑
建筑施工图:武汉卓尔建筑设计有限公司
室内方案设计:曼景建筑
景观方案设计:曼景建筑
景观顾问:锐拓设计

BIM建筑网








































