立管安装是机电工程中的一大重点和难点,尤其是超高层建筑中,输送各类介质的大规格立管布置于狭小的竖井内,施工难度大,安全隐患多,材料垂直运输难也直接制约着机电施工进度。又随着当前建筑工程对工期要求越来越紧迫,对面积要求越来越苛刻,机电安装工期及空间在整个建筑工期及空间内不断压缩,如何解决这两大问题显得尤为重要。
对此,中建三局一公司安装公司在深圳万科云城项目中,应用了“立管预制组合”新工艺,平行穿插施工,流水作业,立管随着结构一起施工,很好地解决了时间和空间上造成的安装难题。此外,立管装配式施工“立管先行”的原则,也解决了传统安装工程中由于水平管和立管二次碰头需要二次打压的问题。
话不多说,我们来施工现场一探究竟!
【项目简介】深圳万科云城项目六期综合用地面积25243.49平米,建筑用地面积23654.87平米,停车位1500辆。其中研发用房面积250000平米,商务50000平米,物业管理用房200平米,社区管理用房250平米。1栋247.8m超高层研发用房为品型形体,建筑面积约为150000平米,首层架空为城市提供公共空间,地下设三层,作为停车库及设备用房;2栋为143.9m的产业用房,共35层,建筑面积约为100000平米;3栋为99.9m的商务公寓,共33层,建筑面积约为50000平米。
· “管道预制组合”自主加工生产
预制组合管道现场加工成产,一次成型。
预制组合加工流程
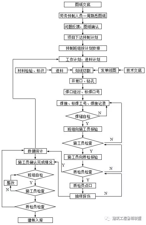
项目管道责任工程师对图纸清查,并组织施工员核对二次标注内容,签字确认。
将预制加工图信息(单线图号、管段、焊口、支架等)录入计算机数据库,作为预制管理依据。
在管道预制前15天,由项目工程部责任工程师向预制班组下达预制计划,同时由项目技术部下发单线图,以此作为管道预制的依据。
施工员根据专业施工方案进行技术交底,并按班组作业计划发放单线图,做好记录,组织施工。预制材料员根据班组作业计划进行材料发放,并做好登记。
施工期间,每天由班组将焊完并自检合格的焊口报施工员,施工员检查合格后报质检员进行外观检查,合格焊口录入计算机。质检员根据焊口完成情况随机抽口,填写探伤通知单,探伤人员按通知单要求检测。
管段预制焊口全部完成后,在计算机中作出特殊标记,施工员通知质检员检查。
·“管道预制组合”自主装配
管道组合后外框架组对,完成吊装准备条件。
· “管道预制组合”一次吊装成型
吊装组对完成碰头,大大节约工期。
利用机电安装工程装配化预制组合立管吊装施工,大大节约工期,为超高层机电施工打下一个很好的基础。
(欢迎各大媒体转载,全面宣传推广装配式建筑!转载请注明出处)

BIM建筑网










