南京市建筑工程质量安全监督站
关于发布装配式建筑工程部品部件生产技术能力登记情况的通告
截至2023年6月12日
各有关单位:
根据《关于印发[南京市装配式建筑工程质量安全管理办法(试行)]的通知》(宁建规字〔2017〕2号)要求,现将装配式建筑工程部品部件生产技术能力登记情况予以公布(详见附件)。
附件:图片南京市装配式建筑工程部品部件生产单位技术能力登记公示(截至2023年6月12日)
南京市建筑工程质量安全监督站
2023年6月12日
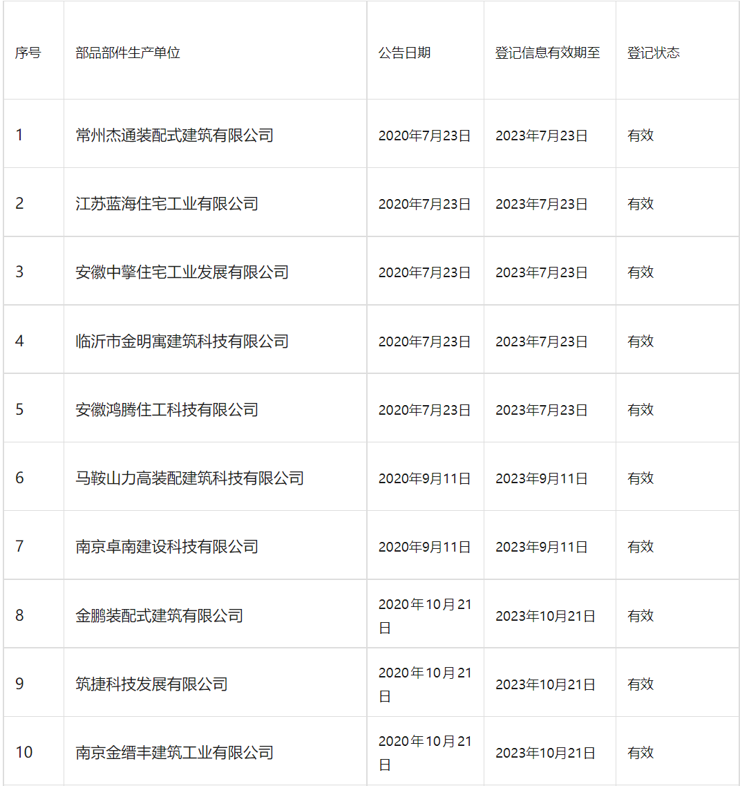
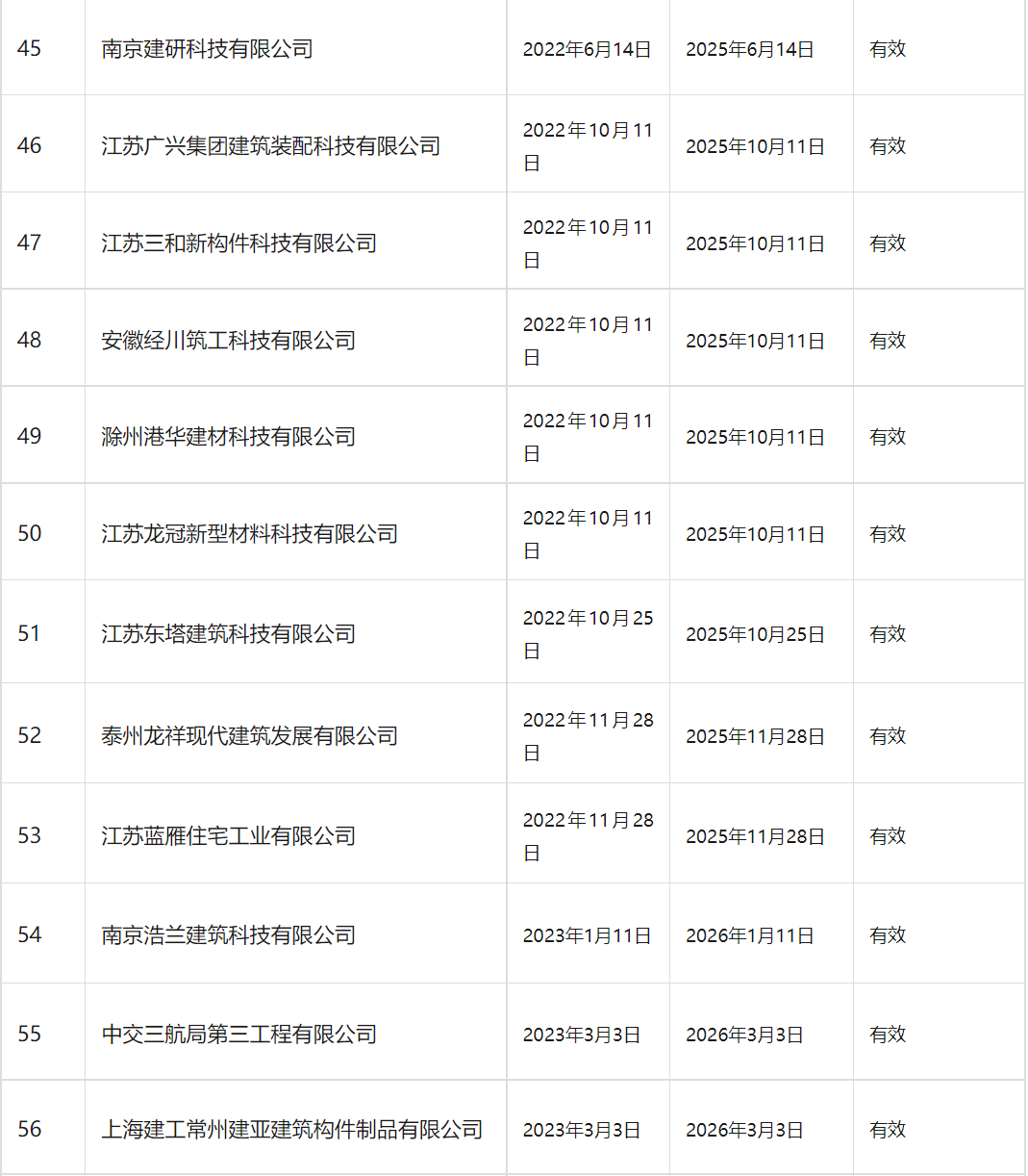
南京市装配式建筑工程部品部件生产单位技术能力登记信息汇总表
(截至2023年6月12日)
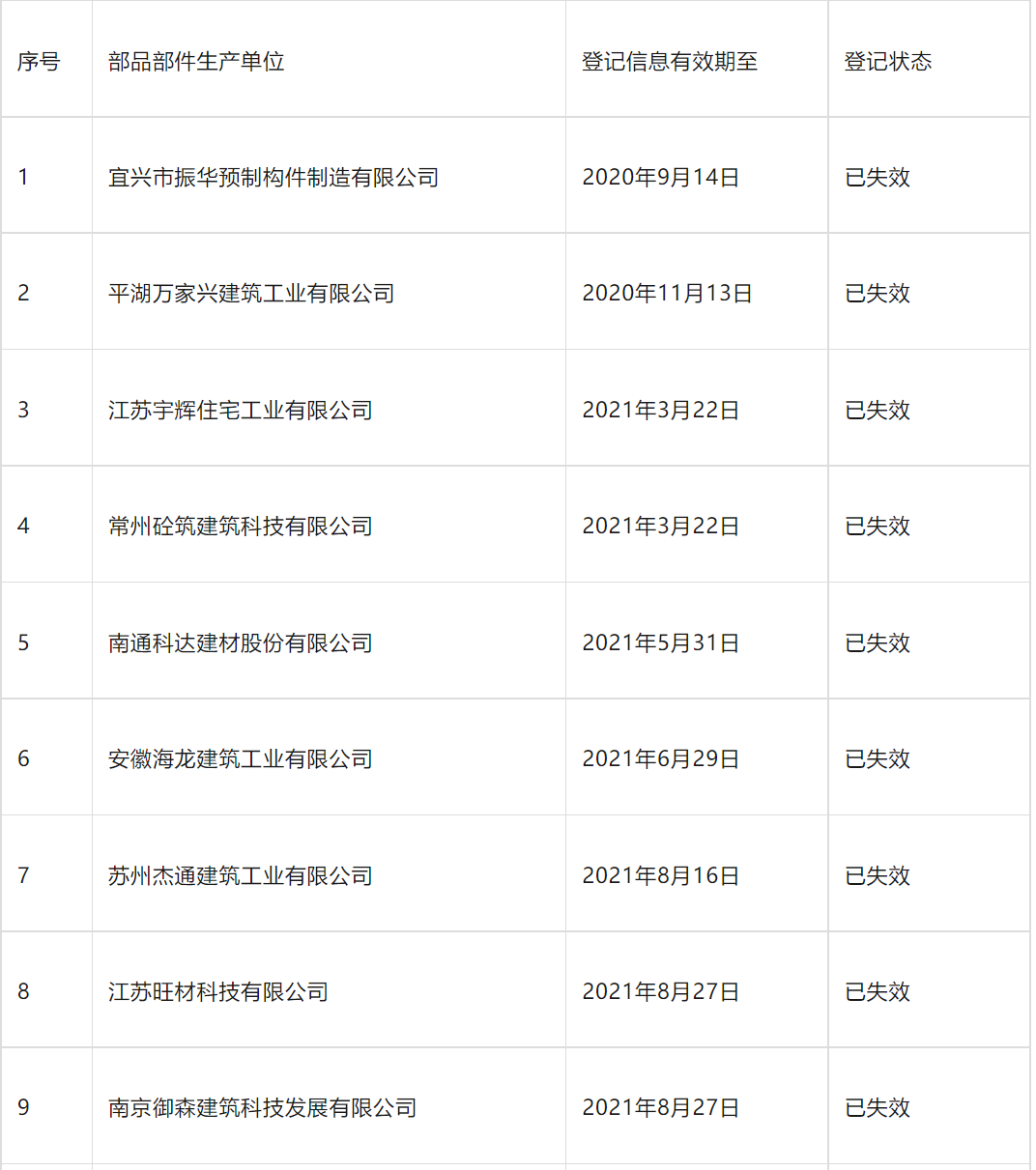
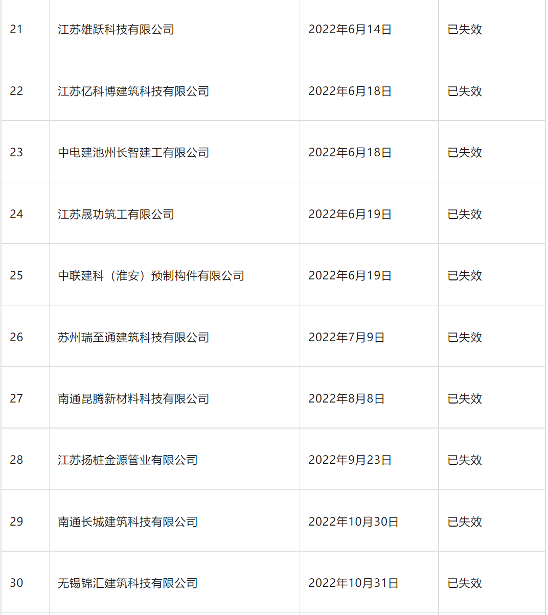
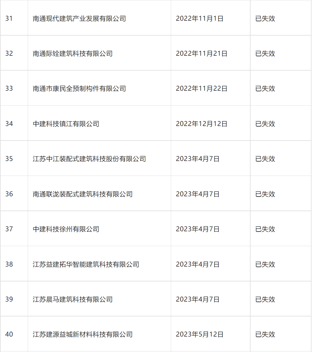
南京市装配式建筑工程部品部件生产单位登记失效清单
(截至2023年6月12日)
微信公众号:xuebim
关注建筑行业BIM发展、研究建筑新技术,汇集建筑前沿信息!
← 微信扫一扫,关注我们+

BIM建筑网









